Top.Mail.Ru
25.01.2022

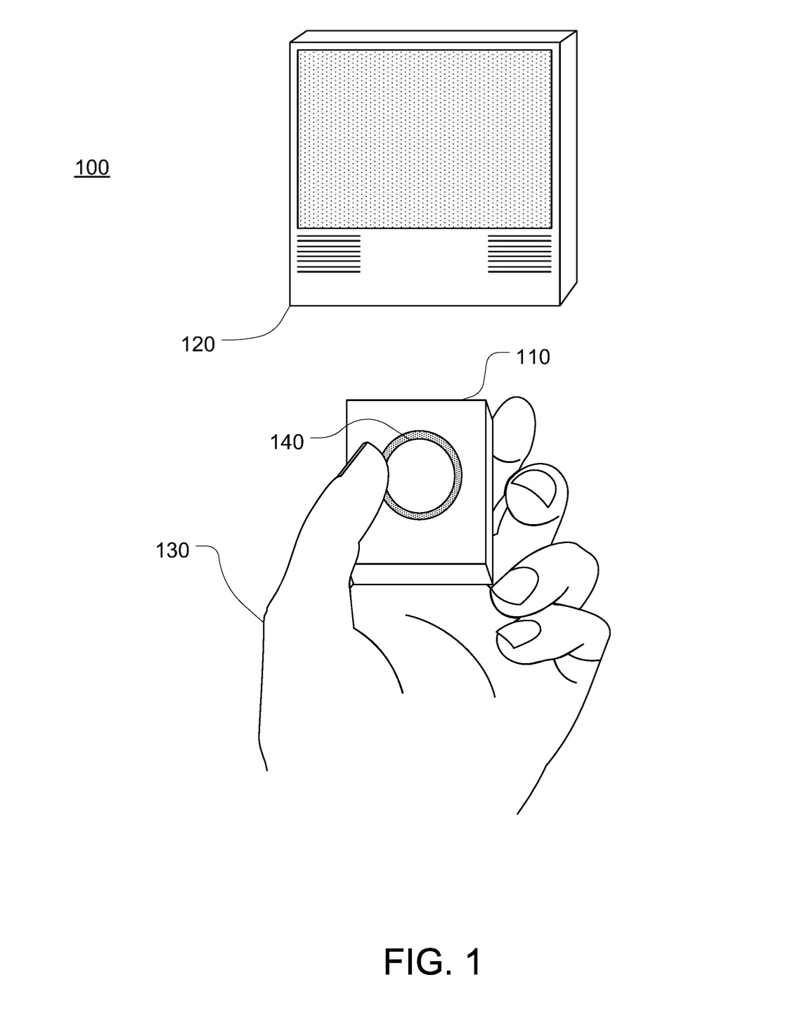
Пульт для Apple TV со сканером Touch Id

Apple - популярная компания благодаря большому количеству умных устройств, используемых для оснащения Smart House. Колонки и телевизоры – это еще не все устройства, созданные ими для максимального удобства пользователей. Совсем недавно было объявлено о появлении новой идеи о создании пульта дистанционного управления, который будет работать на основе touch ID. На первый взгляд этот аксессуар может показаться бесполезным, но пока вы не услышите о возможностях этого пульта дистанционного управления, вы даже не поймете, насколько он вам на самом деле нужен и насколько может облегчить жизнь.

Особенно это устройство было бы полезно для семей, и ниже мы объясним, почему и как этот пульт должен работать.

Помимо функций обычного пульта дистанционного управления, с которыми уже все знакомы, сканер Touch ID предоставит пользователям возможность зарегистрировать свой отпечаток пальца, а уже позже, когда они будут сканировать его, будут открываться именно те учетные записи, которые будут принадлежать данному человеку. Таким образом, вам больше не нужно будет подключать, отключать, переключать аккаунты, что часто занимает много времени. Такая функция обеспечит безопасность, таким образом, у детей не будет доступа к родительским счетам и можно будет избежать ненужных платежей или транзакций и просмотра контента некорректного для детей содержания.

Тем не менее, мы должны помнить, что это всего лишь концепция, и о дате появления или цене аксессуара сейчас ничего не известно.

Читать все новости
Избранное 2 Сравнение 1 Корзина Кабинет